ZY-LDE-CRS插入式電磁流量計-液體流量計系列-江蘇中儀儀🧛🏾‍♀️表集團有限公司

    <li id="l3_1sgq_0k6c"><thead></thead></li>
  • 目前您在:首頁>>産品類别>>流量儀表系列>>液體流量計系列

    ZY-LDE-CRS插入式電磁流量計

    産品特點:

    插入式電磁流量計的工作原理是基于法拉第電磁感應定律。在電磁流量計中,測量管内的導電介質相當于法拉👧🏾第試驗中的導電金屬杆,上下兩端的兩個電磁線圈産生恒定磁場。當有導電介質流過時,則會産生感應電壓。管道内部的兩個電極測量産生的感應電壓。測量管道通過不導電的内襯(橡膠,特氟隆等)實現與流體和測量電極的電磁隔🙈離。

    産品應用插入式電磁流量計廣泛應用于石油、化工、冶金、紡織、食品、制藥、造紙等行業以及環保、市政管理,水利建設等領域。

    在線咨詢訂購熱線:0517---

    一、 
       ZY-LDE-CRS
    插入式電磁流量計它是基于法拉第電磁感應定律工作的,用來測量🏃🏿‍♀️‍➡️電導率大于5μS/cm導電液體的體積流量,是一種測量導電介質體積流量的感應式儀表。除可測量一般導電液體的體積流量外,還可用于測量強酸強堿等強腐蝕液體和泥漿、礦漿、紙🏊🏾‍♀️漿等均😍勻的液😵‍💫固兩相👼🏾懸浮液體的體積流量。廣泛應用于石油、化😁工、冶金、輕紡、造紙、環保、食品等工業部門及市政管理,水利建設、河流疏浚等領域的流量計量。

    二、工作原理
        
    根據法拉第電磁感應原理,在與測量管軸線和磁💕力💯線相垂直的管壁上安裝了一對檢測電極,當導電液體沿測量管軸線運動時,導電液體切割磁力線産生感應電勢,此感💞應電勢由兩個檢測電極檢出,數值大小與流量成正比例,其值爲:
        E=KBVD        
        
    式中: 
        E
    -感應電勢;
        K
    -與磁場分布及軸向長度有關的系數;
        B
    -磁感應強度;
        V
    -導電液體平均流速;
        D
    -電極間距;(測量管内直徑)
        
    傳感器将感應電勢E作爲流量信号,傳送到轉換器,經放大,變換濾波用😍一系列✍🏻的數字處理後,用帶背光的點陣式液晶顯示瞬時流量和累積流量。轉換器有420mA輸出,報警輸出及頻率輸出,并設有RS485等通訊接口,并支持HARTMODBUS協議。
    三、儀表特點
      
    ■全數字量處理,抗幹擾能力強,測量可靠,精度高、流量測量範圍可達1501
      
    ■超低EMI開關電源,适用電源電壓變化範圍大,抗EMI性能好;
      
    ■采用16位嵌入式微處理器,運算速度快,精度高,可編程頻🧑🏻‍❤️‍🧑🏼率💌低頻🚶🏾‍♀️‍➡️矩形波勵磁,提高了流量測量的
        
    穩定性,功耗低;
      
    ■采用SMD器件和表面貼裝(SMT)技術,電路可靠性高;
      
    ■管道内無可動部件,無阻流部件,測量中幾乎沒有附加👺壓力損失;
      
    ■在現場可根據用戶實際需要在線修改量程;
      
    ■測量結果與流速分布,流體壓力,溫度、密度、粘度等物理參數無關;
      
    ■高清晰度背光LCD顯示,全中文菜單操作,使用方便,操作簡單,易學易懂;
      
    ■具有RS485RS232HartModbus等數字通訊信号輸出;(選配)
      
    ■具有自檢與自診斷功能;
      
    ■小時總量計錄功能,以小時爲單位記錄流量總量,适用😝于分時計量制(選配);
      
    ■内部具有三個積算器可分别顯示正向累積量反向累積🏃🏻‍♀️量及差值積算量,内部設有不掉電時鍾,可記
        
    16次掉電時間。(選配);
      
    ■紅外手持操作器,115KHZ通訊速率,遠距離非接觸操作轉換器所有功能(選配)。

    1

    公稱通徑(mm 
    (特殊規格可定制) 

     管道式四氟襯裏:DN10DN600

     管道式橡膠襯裏:DN40DN2200

    流動方向 

     正,反,淨流量

    量程比 

     1501

    重複性誤差 

     測量值的±0.1%

    精度等級 

     管道式:0.5級,1.0

    被測介質溫度 

     普通橡膠襯裏:-20~+60

     高溫橡膠襯裏:-20~+90

     聚四氟乙稀襯裏:-30~+100

     高溫型四氟襯裏:-20~+180

    額定工作壓力 
    (高壓可定制) 

     DN10DN150:≤1.6MPa

     DN200DN350:≤1.0MPa

     DN400DN1000:≤0.6MPa

     DN450DN2200:≤0.25MPa

    流速範圍 

     0.115m/s

    電導率範圍 

     被測流體電導率≥5μs/cm

    信号輸出 

     420mA(負載電阻0750Ω),脈沖/頻率,控制電平

    通訊輸出 

     RS485,MODBUS協議,HART協議

    供電電源 

     AC220VDC24V

    要求直管段長度 

     上遊≥5DN,下遊≥2DN

    連接方式 

     流量計與配管之間均采用法蘭連接,法蘭符合國标:GB/T9115.1-2000

    防爆等級 

     ExdeiallBT4-T6

    防護等級 

     IP65,特殊訂制高可達IP68

    環境溫度 

     25~+60

    相對溫度 

     5%95%

    消耗總功率 

     小于20W

    四.産品選型

    2

    型号

    說明

    ZY-LDE-CRS

    -

    -

    通徑

     

     

     

     

     

     

     

     

     

     10-2200mm

    組合

    S

     一體型

    C

     插入型

    電極材料

    M

     不鏽鋼

    T

     Ti(钛)

    D

     Ta(钽)

    H

     哈氏合金

    P

     Pt

    N

     Ni

    輸出方式

    0

     無輸出

    1

     4-20mA/1-5KHz

    2

     4-20mA

    襯裏材料

    X

     橡膠

    F

     聚四氟乙烯

    P

     聚乙烯

    J

     聚氨酯橡膠

    就地顯示

    0

     無就地顯示

    1

     就地顯示

    通訊方式

    0

     無通訊

    1

     RS485

    2

     RS232

    3

     Modbus

    4

     Hart

    接地環

    0

     無接地環

    1

     有接地環

    2

     有接地電極

    上限流量

    n

     上限流量(量程)m3/h

        例:選用一台就地顯示型電磁流量計測量污水,用戶管道爲DN50,要求橡膠材料襯裏,不鏽鋼電極,420mA輸出,無通訊,上限流量爲30m3/h。型号應爲:LDE50SM1X10030
        2.
    選型說明:
        
    儀表口徑的确定:請參照表3

    3

    内徑(mm

    10

    15

    20

    25

    32

    40

    50

    65

    Qminm3/h

    0.05

    0.1

    0.3

    0.4

    0.8

    1.2

    2

    3

    Qmaxm3/h

    3.5

    8

    15

    22

    35

    55

    95

    150

    内徑(mm

    80

    100

    125

    150

    200

    250

    300

    350

    Qminm3/h

    5

    8

    12

    18

    25

    35

    50

    60

    Qmaxm3/h

    220

    350

    550

    800

    1400

    2200

    3200

    4500

    内徑(mm

    400

    450

    500

    550

    600

    700

    800

    900

    Qminm3/h

    80

    120

    180

    230

    300

    400

    500

    600

    Qmaxm3/h

    5500

    7500

    9000

    11000

    13000

    16600

    21700

    27468

    内徑(mm

    1000

    1100

    1200

    1400

    1600

    1800

    2000

    2200

    Qminm3/h

    800

    1000

    1200

    1600

    2100

    2700

    3300

    4000

    Qmaxm3/h

    33900

    41000

    48800

    66400

    86800

    109000

    135000

    164000

    襯裏材料的确定:請參照表4

    4

    内襯材料

    名稱

    符号

    性能

    高工作溫度

    适用液體

    橡膠

    氯丁橡膠

    CR

    耐磨性中等,耐一般低濃度的酸堿鹽的腐蝕

    60

    自來水、工業用水、海水

    聚氨酯橡膠

    PU

    好的耐磨性能,耐酸堿性能較差

    60

    紙漿、礦漿等漿液

    氟塑料

    聚四氟乙烯

    F4PTFE

    化學性能很穩定,耐沸騰的鹽酸、硫酸、王水、濃堿的腐蝕

    160

    腐蝕性強的酸堿鹽液體

    聚全氟乙丙烯譯名: 
    特氟隆FEP

    F46FEP

    化學性能等同于F4
    抗壓、抗拉強度優于4

    120

    腐蝕性的酸堿鹽液體

    四氟乙烯和乙烯的共聚物

    F40ETFE

    化學性能等同于F4
    抗壓、抗拉強度優于4

    120

    腐蝕性的酸堿鹽液體

    塑料

    聚乙烯

    PO

    耐稀酸、堿、鹽的腐蝕

    60

    耐酸堿鹽液體的污水

    聚苯硫醚

    PPS

    耐稀酸、堿、鹽的腐蝕

    100

    耐酸堿鹽液體的污水

        2.選型說明
        
    電極、接地環材料的确定:請參照表5

    5

    材料

    耐腐蝕性能

    316L

     适用:1.生活用水,工業用水,原水井水,城市污水 
           2.
    弱腐蝕性酸、堿、鹽溶液

    哈氏合金B

     适用:1.鹽酸(濃度小于10%)等非氧化性酸 
           2.
    氫氧化鈉(濃度小于50%),一切濃度的氫氧化鈉堿溶液 
           3.
    磷酸,有機酸 
     
    不适用:硝酸

    哈氏合金C

     适用:1.混酸和鉻酸與硫酸的混合溶液 
           2.
    氧化性鹽類如Fe+++Cu++、海水 
           3.
    磷酸,有機酸 
     
    不适用:鹽酸

    钛(Ti

     适用:1.鹽,如:⑴ 氯化物(氯化物/////鐵等) 
                     
     鈉鹽、鉀鹽、铵鹽、次鋁酸鹽、海水 
           2.
    濃度小于50%氫氧化鉀、氫氧化铵、氫氧化鋇堿溶液 
     
    不适用:鹽酸、硫酸、磷酸、氫氟酸等還原性酸

    钽(Da

     适用:1.鹽酸(濃度小于40%),稀硫酸和濃硫酸(不包括發煙硫酸) 
           2.
    二氧化氯,氯化鐵、次氯酸、氰化鈉、乙酸等 
           3.
    硝酸(包括發煙硝酸)等氧化性酸,溫度低于80的王水 
     
    不适用:堿、氫氟酸

    鉑(Pt

     适用:幾乎所有的酸、堿、鹽溶液(包括發煙硫酸、發煙硝酸) 
     
    不适用:王水、铵鹽

    碳化物

     适用:紙漿、污水、能抗固體顆粒幹擾 
     
    不适用:無機酸、有機酸、氯化物


        
    若不能确定選用何種襯裏材料及電極材料請參照第七🧑🏽‍❤️‍💋‍🧑🏻部💌分👽“電極和襯裏耐腐蝕材料一覽表”

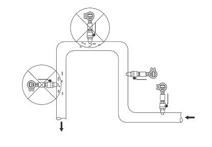
    插入式電磁流量計安裝示意圖

    點擊下圖進入首頁
    ?

    免費咨詢

    • 點擊這裏給我發消息

    • 微信掃一掃
    • 點擊這裏給我發消息

    • 微信掃一掃

    <li id="l3_1sgq_0k6c"><thead></thead></li>